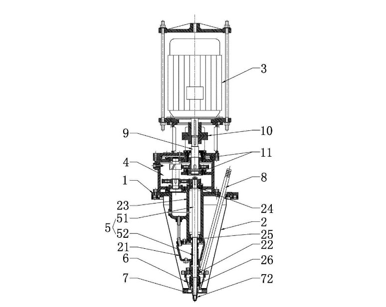
離心噴霧干燥機霧化器介紹及配件有哪些:
高速離心噴霧干燥機技術。本實用新型主要包括高速電機、電機主軸、尼龍塊、聯軸器、大聯接盤、軸承、霧化器主軸及噴霧盤,電機主軸通過聯軸器和尼龍塊與霧化器主軸進行軟聯接,使電機主軸的振動與霧化器主軸的振動互不傳遞。

霧化器主軸為撓性軸,在共振區時允許其擺動,越過共振區后,霧化器主軸便如陀螺一樣穩定旋轉,高速電機設置有水冷夾套及噴霧潤滑,對霧化器主軸采用潤滑油循環潤滑。因而本實用新型具有轉速更高、運行平穩、振動小、不斷軸、壽命長、檢修周期長等特點,可廣泛應用于高速噴霧干燥機中,將液狀物料噴霧干燥成粉狀成品及應用于其它工業領域做霧化用。
離心噴霧干燥機結構圖:
